Wndsn Quadrant Telemeter Tutorials
Making the most out of our graphical telemetry computers.
Like with many complex instruments, there are multiple ways to solve certain problems and to measure the required inputs. Combining the various functions leads to a multitude of advanced uses. See also the printed manual.
Measuring Distance from Eye Level
Determining distance to a point of interest that we have no data about.
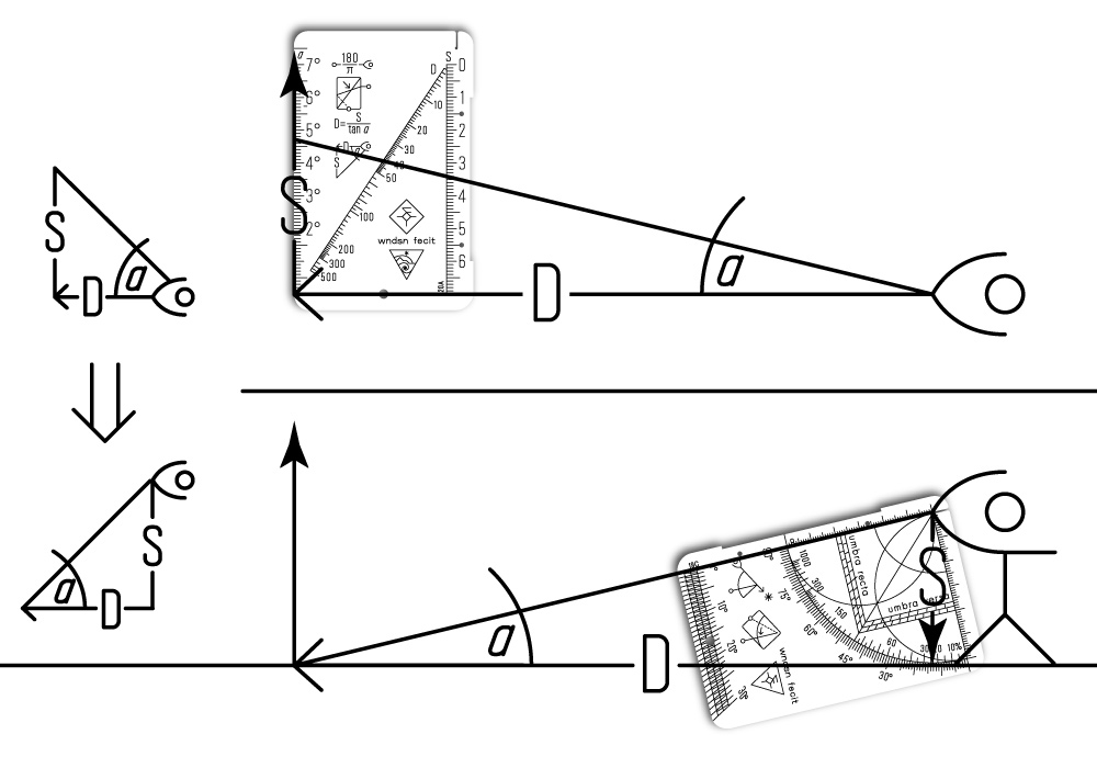
In regular Telemeter distance calculations we solve a triangle with the opposite as the known dimension/size/height of a given object at the distance in question.

Top: Using the Telemeter triangle to measure distance with known object dimension S. Bottom: Flipping the Telemeter triangle to measure from eye level S.
But what if there is no object or we don't know its dimension and have no way to determine that data point?
The answer is to flip the triangle.
Using our own height, eye height to be specific, we can flip the triangle, measure the angle to the point in question and solve as always for distance (with the Telemeter nomogram).
The only prerequisite is knowing our eye height.
To measure the angle, we have to use the Quadrant and sight from eye height to the base of the object or point of interest. The result is the position where the plumb line crosses the degree scale. We take that value, transpose it to the Telemeter nomogram, use the string to connect to our eye height, and read the resulting distance on the center scale.
Alternatively, the slope scale of the Quadrant returns the matching tangent value. Dividing our eye height by the tangent gives us the distance as well.
This method works well for shorter distances. If we assume that the minimum angle we can measure is 1°, and the tangent of 1° is 1/57.3, we multiply the eye height of 1.75 m or 5'10" with 57.3 and get a distance of about 100 m or 330 ft (cf. Tycho).